Appearance
1 工具坐标系定义
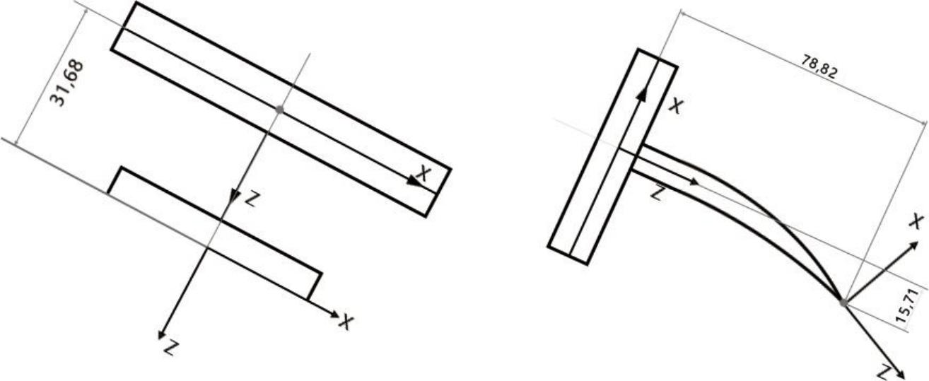
> 1.1 法兰盘坐标系
定义: 法兰盘中心为默认工具坐标系的原点
坐标轴方向:
- 法兰盘中心指向法兰盘定位孔方向为+X方向
- 垂直法兰向外为+Z方向
- 根据右手法则即可判定Y方向

坐标系关系: 新的工具坐标系都是相对于默认的工具坐标系变化得到的

> 1.2 TCP(工具中心点)
定义: TCP(TOOL CENTER POINT)即工具中心点
应用位置: TCP一般设置在手爪中心、焊丝端部、点焊静臂前端等
轨迹与速度:
- 机器人轨迹:指TCP点的轨迹
- 机器人速度:指TCP点的速度
工业机器人TCP定义: 工业机器人一般都事先定义了一个TCP,TCP的XY平面绑定在机器人第六轴的法兰盘平面上,TCP的原点与法兰盘中心重合。显然TCP在法兰盘中心。
不同厂家术语:
- ABB机器人:TCP称为tool0
- REIS机器人:TCP称为_tnull
实际应用: 虽然可以直接使用默认的TCP,但是在实际使用时,比如焊接,用户通常把TCP点定义到焊丝的尖端(实际上是焊枪tool的坐标系在tool0坐标系的位姿),那么程序里记录的位置便是焊丝尖端的位置,记录的姿态便是焊枪围绕焊丝尖端转动的姿态。

2 工具坐标系特点
> 2.1 坐标系变换关系
基本特性: 新的工具坐标系是相对于默认工具坐标系变化得到的,新工具坐标系的位置和方向始终同法兰盘保持绝对的位置和姿态关系,但在空间上是一直变化的。

法兰盘坐标系(默认TCP)
↓
工具手变换
↓
新工具坐标系(TCP)特点说明:
- 与法兰盘的相对关系固定
- 空间位置随机器人运动变化
- 姿态关系保持恒定
> 2.2 工具手标定适用场景
2.2.1 需要使用工具手参数的场景
判断标准: 需要用到绕X、绕Y、绕Z的姿态旋转时
典型应用:
- 焊接工艺(多方向焊接)
- 装配工艺(多角度装配)
- 涂胶工艺(复杂路径涂胶)
- 抛光打磨工艺(多面加工)
2.2.2 无需使用工具手参数的场景
判断标准: 机器人本身仅做Z轴姿态旋转,且工具末梢位于机器人6轴法兰中心延长线上
典型应用:
- 简单垂直搬运
- 单一方向点胶
- 垂直钻孔
- 简单上下料
优势: 此时可以不设置工具手参数,简化配置
2.2.3 工具手标定定义
定义: 工具手标定是使用工具手末梢对准在空间上一固定点,选取一定数量的点计算出工具尺寸及姿态。
标定原理:
- 工具手末梢对准空间固定点
- 选取多个不同姿态的标定点
- 通过计算得出工具尺寸和姿态参数
> 2.3 标定条件要求
2.3.1 机器人类型要求
适用类型:
- 六轴串联多关节机器人
- 六轴协作机器人
不适用类型: 不适用于少于6轴的机器人
2.3.2 工具特征要求
基本要求: 工具末梢有可对准标定锥的特征:尖状的工具手
示例工具:
- 尖端焊枪
- 笔形工具
- 尖端夹具
- 探针式工具
2.3.3 特殊情况处理
无尖端工具处理:
- 对于工具无尖端无法对准标定锥的情况
- 使用夹爪夹住特定尖状物体
- 也可进行标定
- 标定精度取决于:
- 尖状物体如何放置
- 机器人本体参数是否准确
操作建议:
- 尖状物体尽可能放置到夹爪中心
- 确保夹持稳定,无晃动
- 验证标定精度是否符合要求

3 标定方式选择
> 3.1 标定方式对比
| 标定方式 | 功能 | 适用条件 | 精度特点 |
|---|---|---|---|
| 6点标定 | 标定工具手尺寸 标定工具手末梢姿态 | 在机器人参数精准的情况下:标定工具手尺寸+姿态 | 标定结果旋转C轴精度较好 |
| 7点标定 | 标定工具手尺寸 标定工具手末梢姿态 | 在机器人参数精准的情况下:标定工具手尺寸+姿态 | 标定结果旋转A、B轴精度较好 |
| 12点标定 | 修正零点2、3、4、5轴 标定工具手尺寸 | 校准零点+标定工具尺寸 | 校准零点+标定工具尺寸 |
| 15点标定 | 修正2、3、4、5轴零点 标定工具手尺寸 标定工具手末梢姿态 | 校准零点+标定工具尺寸+标定工具姿态 | 综合标定方案 |
| 20点标定 | 修正2、3、4、5轴零点 标定工具手尺寸 | 先拿标定锥标定20点校准零点后,再使用工具手标定6、7点 | 零点校准最精确 |
> 3.2 典型应用场景推荐
情景1:机器人已做过激光标定+使用焊枪
推荐方法: 使用6点标定工具手即可
操作步骤:
- 进行6点标定
- 标定完成验证机器人标定结果
适用原因: 机器人参数已精准,6点标定即可满足精度要求
情景2:机器人未做过激光标定+使用焊枪
推荐方法: 使用12点标定工具手即可
操作步骤:
- 进行12点标定
- 标定完成验证机器人标定结果
适用原因: 需要同时校准零点和工具参数
情景3:标定码垛夹爪
推荐方法: 优先选择直接填工具尺寸,不知道尺寸的再使用6点标定
准备工作:
- 准备一尖状物体且可以被夹爪抓住
- 该物体尽可能放置到夹爪中心
操作步骤:
- 使用6点标定工具手
- 标定完成验证机器人标定结果
优势: 直接填写尺寸更快速准确,6点标定作为备选方案
情景4:机器人零点丢失,按照对位孔标定的零点位置有偏差
推荐方法: 使用20点标定
准备工作:
- 准备标定工具
- 该工具末梢尽可能位于6轴法兰中心延长线上
- 工具尺寸较小
操作步骤:
- 使用20点标定,校准零点
- 20点标定后再换上要实际用到的工具手
- 进行6点标定
- 标定完成验证机器人标定结果
优势: 20点标定可以精确校准零点
情景5:6点标定后A、B轴旋转误差较大满足不了使用需求
推荐方法: 更换7点标定
操作步骤:
- 重新进行7点标定
- 标定完成验证机器人标定结果
适用原因: 7点标定对A、B轴旋转精度更高
> 3.3 标定精度验证方法
验证步骤:
切换到示教模式
工具手标定的末梢对准标定锥
- 确保尖端准确对准标定锥尖端
选中标定的工具手参数
切换坐标系
- 点动坐标系切换到直角坐标系
旋转测试
- 点动A、B、C轴
- 观察尖端是否对准
- 测量偏了多少mm
精度判断
- 若偏移在允许范围内,标定成功
- 若偏移超出允许范围,需要重新标定
允许偏移范围: 根据实际工艺要求确定,一般建议小于1mm
> 3.4 如何填写夹爪尺寸
3.4.1 准备工作
- 准备好夹爪长宽高的参数
- 测量或获取夹爪中心相对于法兰盘中心的偏移量
3.4.2 填写方法
| 参数 | 填写内容 | 注意事项 |
|---|---|---|
| x轴方向偏移 | 夹爪末梢在X轴上的偏移量 | 末梢位于直角X轴正方向上填正值 |
| y轴方向偏移 | 夹爪末梢在Y轴上的偏移量 | 末梢位于直角Y轴正方向上填负值 |
| z轴方向偏移 | 夹爪末梢在Z轴上的偏移量 | 末梢位于直角Z轴正方向上填负值 |
3.4.3 填写规则说明
X轴偏移:
- 正方向偏移:填正值
- 负方向偏移:填负值
Y轴偏移:
- 正方向偏移:填负值(注意:与X轴相反)
- 负方向偏移:填正值
Z轴偏移:
- 正方向偏移:填负值(注意:向上为正)
- 负方向偏移:填正值
3.4.4 验证步骤
- 保存后,验证工具手旋转A、B、C精度
- 按照3.3节的验证方法进行精度验证
- 确保满足工艺要求
> 3.5 详细标定过程
3.5.1 6点标定
3.5.1.1 进入标定界面

路径: 设置-工具手标定界面-6点标定
界面说明:
| 项目 | 说明 |
|---|---|
| 工具序号 | 当前标定的工具编号 |
| 标定方式 | 6点标定 |
| 位置 | TC1-TC6六个标定点 |
| 工具状态 | 待标定/已标定 |
| 操作 | 标定/取消标定 |
3.5.1.2 标定步骤
第一个点: 机器人5轴垂直向下

姿态:J5垂直向下
要求:工具末端垂直指向下方第二个点: 机器人在第一点的基础上C轴旋转180°

操作:在第一点基础上,C轴旋转180°
要求:保持工具末端位置不变第三个点: 机器人在第一点的基础上B轴角度在35°

操作:在第一点基础上,B轴旋转至35°
要求:保持工具末端位置不变第四个点: 机器人回到零点,然后工具手末梢垂直

操作:
1. 机器人回到零点
2. 调整姿态使工具手末梢垂直
要求:工具末端垂直指向下方第五个点: 机器人在第四点的基础上动X-

操作:在第四点基础上,X轴向负方向移动
要求:移动一段距离,保持姿态不变第六个点: 机器人在第五点的基础上动Y+

操作:在第五点基础上,Y轴向正方向移动
要求:移动一段距离,保持姿态不变3.5.1.3 完成标定
操作步骤:
选中标定的任意一点
点击【运行至该点】,查看标定是否准确
点击【计算】按钮,标定成功
点击底部的【返回】按钮返回"工具手标定"界面
绕ABC旋转可以检查标定的点是否正确
注意事项:
- 若在标定过程中对标定的某一点不满意,可以点击该行所对应的【取消标定】按钮
- 取消标定后再次标定该点
3.5.2 7点标定
3.5.2.1 进入标定界面

路径: 点击底部的【七点标定】按钮
界面说明:
| 项目 | 说明 |
|---|---|
| 工具序号 | 当前标定的工具编号 |
| 标定方式 | 7点标定 |
| 位置 | TC1-TC7七个标定点 |
| 工具状态 | 待标定/已标定 |
| 操作 | 标定/取消标定 |
3.5.2.2 标定前准备
条件: 若没有工具的详细参数,可以进行TCP标定,自动计算出工具各项尺寸参数
准备工作:
- 准备参考点(笔尖或固定点)
- 确保参考点固定不动
3.5.2.3 标定步骤
TC1标定:
- 将工具末端垂直且正对参考点
- 点击界面"TC1"所对应的【标定】按钮

TC2标定:
- 将机器人切换一个姿势
- 末端正对参考点
- 点击该行所对应的【标定】按钮

TC3标定:
- 将机器人切换一个姿势
- 末端正对参考点
- 点击该行所对应的【标定】按钮

TC4标定:
- 将机器人切换一个姿势
- 末端正对参考点
- 点击该行所对应的【标定】按钮

TC5标定:
- 将工具末端垂直且正对参考点(同TC1)
- 点击该行所对应的【标定】按钮

TC6标定:
- 在TC5的基础上
- 沿笛卡尔坐标系X轴负方向移动任意距离
- 点击该行所对应的【标定】按钮

TC7标定:
- 在TC6的基础上
- 沿笛卡尔坐标系Y轴正方向移动任意距离
- 点击该行所对应的【标定】按钮


3.5.2.4 完成标定
操作步骤:
点击【运行至该点】,查看标定是否准确
点击【计算】按钮,标定成功
若在标定过程中对某点标定后不满意,可以点击该行所对应的【取消标定】按钮
点击底部的【演示】按钮可以打开"演示"界面,讲解如何进行工具标定
点击底部的【返回】按钮可以返回"工具手标定"界面
3.5.3 12/15点标定
3.5.3.1 标定方式说明

12点/15点/20点标定: 公用一个标定界面
12点标定: 15点标定不标最后三个点(13-15),标定结果只有工具手的XYZ轴方向偏移,无绕ABC旋转的数值
15点标定: 标定前15个点,包含零点校准+工具尺寸标定
3.5.3.2 进入标定界面
路径: 点击"工具手标定"界面底部的【20点标定】按钮
3.5.3.3 标定准备
准备工作: 找到一个参考点(标定锥尖端为参考点),并确保此参考点固定
标定方法: 开始插入位置点,每插入一点,点击【标记该点】,插入十五个点
3.5.3.4 标定步骤
第一个点: 机器人回归零点,通过直角坐标将机器人尖端对准标定锥尖端,标定第一个点

第二个点: 在第一个点的基础上,通过直角坐标系将C旋转180度;尖端对齐标定第二点
第三个点: 机器人回归零点,通过直角坐标系将机器人尖端对准标定锥尖端;标定第三个(与第一个点相同)
第四个点: 在第三个点的基础上,通过直角坐标系做B-,度数位于30°-60°,尖端对齐标定第四个点

第五个点: 在第四个点的基础上,通过直角坐标系做B+,J5>-90°,将机器人尖端对准标定锥尖端,标定第五个点

第六个点: 选中第一个点,并将机器人移动到第一个点,在第一个点的基础上,通过直角坐标系做B+,J5>-90°,尖端对齐标定第六个点

第七个点: 在第一个点的基础上,通过直角坐标系做B-,J5>-90°,尖端对齐标定第七个点

第八个点: 在第七个点的基础上,通过直角坐标系做A+,旋转90°,J5>-90°,尖端对齐标定第八个点

第九个点: 在第七个点的基础上,通过直角坐标系做A-,旋转90°,J5>-90°,尖端对齐标定第九个点

第十个点: 机器人回到第一个点,通过关节坐标系点动五轴,使五轴向上,J5<-90°,将尖端对齐,标定第十个点

第十一个点: 机器人在第十点的基础上,通过直角坐标系做A+,旋转90°,J5<-90°,尖端对齐标定第十一个点

第十二个点: 机器人在第十点的基础上,通过直角坐标系做A-,旋转90°,J5<-90°,尖端对齐标定第十二个点

第十三个点(仅15点标定): 机器人回到零点位置,调整机器人姿态,使机器人末端工具尖端竖直朝下,将标定尖端与标定锥对齐,标定第十三个点
第十四个点(仅15点标定): 在第十三个点的基础上,通过直角坐标系做X-,机器人位移一段距离,直接点击标定第十四个点
第十五个点(仅15点标定): 在第十四个点的基础上,通过直角坐标系做Y+,机器人位移一段距离,直接点击标定第十五个点
3.5.3.5 完成标定
操作步骤:
完成标记后,点击【计算】
按钮功能说明:
| 按钮 | 功能 |
|---|---|
| 取消标定 | 若在标定过程中对某点标定后不满意,可以取消后再次标定 |
| 运行到该点 | 每标定完一个点可以点击,机器人会运行到该点 |
| 将结果位置标为零点 | 将标定补偿后的位置设置为当前机器人的零点位置 |
| 清除所有标定点 | 标定点位会保存到控制器中,只有点击取消标定、清除所有标定点以及切换工具手进标定界面后,标定结果才会清除 |
- 点击底部的【返回】按钮,可以返回"工具手标定"界面
3.5.3.6 注意事项
| 注意事项 | 说明 |
|---|---|
| 姿态选择 | 各点的姿势,请尽量取任意方向的姿势。取的姿势朝一定方向旋转的话,有些时候精度不准确 |
| 参考点固定 | 标定过程中请保持参考点固定,否则标定误差增大 |
3.5.4 20点标定
3.5.4.1 标定方式说明
20点标定: 12点/15点/20点标定公用一个标定界面,标定所有20个点即为使用20点标定法
3.5.4.2 标定准备
准备工作: 找到一个参考点(笔尖为参考点),并确保此参考点固定
3.5.4.3 标定步骤
标定方法: 开始插入位置点,每插入一点,点击【标记该点】,插入20个点,每个点的姿态差异越大越好。
厂家建议标定步骤:
第一点:工具手姿态垂直向下
第二点:走A+轴
第三点:走A+
第四点:走A+
第五点:走A-
第六点:走A-
第七点:走A-
第八点:走B+
第九点:走B+
第十点:走B+
第十一点:走B-
第十二点:走B-
第十三个点:走B-
第十四点:主要动C轴
第十五点:主要动C轴
其余点:主要动C轴成米字形排布标定
完成20点标记后,点击【计算】
3.5.4.4 按钮功能说明
| 按钮 | 功能 |
|---|---|
| 取消标定 | 若在标定过程中对某点标定后不满意,可以取消后再次标定 |
| 运行到该点 | 每标定完一个点可以点击,机器人会运行到该点 |
| 将结果位置标为零点 | 将标定补偿后的位置设置为当前机器人的零点位置 |
| 清除所有标定点 | 标定点位会保存到控制器中,只有点击取消标定、清除所有标定点以及切换工具手进标定界面后,标定结果才会清除 |
| 20点不标定 | 20个点不标定零点打开后只标定尺寸+姿态;运行到计算结果位置始终置灰,将结果位置标为零点变为"将计算结果保存" |
20点不标定功能说明:
打开状态:
- 标定方法为第一点工具手垂直标定杆
- 最后两点标定为X-和Y+
- 其他点按照原来20点标定方法标定
- 只标定尺寸+姿态
- 运行到计算结果位置始终置灰
- 将结果位置标为零点变为"将计算结果保存"
关闭状态:
- 标记20点方法按原先20点标定方法标定
- 可以将结果位置标为零点
3.5.4.5 注意事项
| 注意事项 | 说明 |
|---|---|
| 姿态选择 | 各点的姿势,请尽量取任意方向的姿势。取的姿势朝一定方向旋转的话,有些时候精度不准确 |
| 参考点固定 | 标定过程中请保持参考点固定,否则标定误差增大 |
4. 标定常见问题
4.1 标定精度问题
| 问题现象 | 可能原因 | 解决方法 |
|---|---|---|
| A、B轴旋转误差大 | 使用6点标定 | 更换7点标定 |
| C轴旋转误差大 | 使用7点标定 | 更换6点标定 |
| 标定后仍有偏移 | 参考点移动 | 确保参考点固定 |
| 精度不稳定 | 机器人参数不准 | 进行零点校准 |
4.2 标定条件问题
| 问题现象 | 可能原因 | 解决方法 |
|---|---|---|
| 无法对准标定锥 | 工具无尖端 | 使用夹爪夹住尖状物体 |
| 标定点位不准确 | 姿态差异小 | 增加姿态差异 |
| 计算失败 | 标定点数量不足 | 补充标定点 |
4.3 操作注意事项
标定前检查: 确认机器人类型、工具特征符合要求
参考点固定: 标定过程中严禁移动参考点
姿态多样性: 各点姿态尽量取任意方向,避免单一方向旋转
精度验证: 标定完成后务必进行精度验证
数据备份: 标定结果会保存到控制器中,注意备份
5. Q&A
Q: 什么是工具手标定?
A: 工具手标定是使用工具手末梢对准在空间上一固定点,选取一定数量的点计算出工具尺寸及姿态。[来源: 2207工具手标定手册][用户上传文件]
Q: 什么情况下需要使用工具手参数?
A: 需要用到绕X、绕Y、绕Z的姿态旋转时,需要进行工具手标定。[来源: 2207工具手标定手册][用户上传文件]
Q: 什么情况下无需使用工具手参数?
A: 机器人本身仅做Z轴姿态旋转,且工具末梢位于机器人6轴法兰中心延长线上;此时可以不设置工具手参数。[来源: 2207工具手标定手册][用户上传文件]
Q: 工具手标定需要满足哪些条件?
A: 工具手标定需满足以下条件:1. 机器人类型为:六轴串联多关节、六轴协作;2. 工具末梢有可对准标定锥的特征:尖状的工具手。[来源: 2207工具手标定手册][用户上传文件]
Q: 工具没有尖端如何进行标定?
A: 对于工具无尖端无法对准标定锥的情况,使用夹爪夹住特定尖状物体,也可做标定,标定精度取决于尖状物体如何放置、机器人本体参数是否准确。[来源: 2207工具手标定手册][用户上传文件]
Q: 6点标定有什么特点?
A: 6点标定可以标定工具手尺寸和工具手末梢姿态,在机器人参数精准的情况下,标定结果旋转C轴精度较好。[来源: 2207工具手标定手册][用户上传文件]
Q: 7点标定有什么特点?
A: 7点标定可以标定工具手尺寸和工具手末梢姿态,在机器人参数精准的情况下,标定结果旋转A、B轴精度较好。[来源: 2207工具手标定手册][用户上传文件]
Q: 12点标定有什么功能?
A: 12点标定可以修正零点2、3、4、5轴并标定工具手尺寸,实现校准零点+标定工具尺寸。[来源: 2207工具手标定手册][用户上传文件]
Q: 15点标定有什么功能?
A: 15点标定可以修正2、3、4、5轴零点,标定工具手尺寸,标定工具手末梢姿态,实现校准零点+标定工具尺寸+标定工具姿态。[来源: 2207工具手标定手册][用户上传文件]
Q: 20点标定有什么功能?
A: 20点标定可以修正2、3、4、5轴零点并标定工具手尺寸,先拿标定锥标定20点校准零点后,再使用工具手标定6、7点。[来源: 2207工具手标定手册][用户上传文件]
Q: 如何验证标定精度?
A: 示教模式下,工具手标定的末梢对准标定锥,在尖端对准的情况下,选中标定的工具手参数,点动坐标系切换到直角,点动A、B、C轴,看尖端是否对准、偏了多少mm。[来源: 2207工具手标定手册][用户上传文件]
Q: 如何填写夹爪尺寸的x轴方向偏移?
A: 夹爪末梢在X轴上的偏移量填到"x轴方向偏移",注意:末梢位于直角X轴正方向上填正值。[来源: 2207工具手标定手册][用户上传文件]
Q: 如何填写夹爪尺寸的y轴方向偏移?
A: 夹爪末梢在Y轴上的偏移量填到"y轴方向偏移",注意:末梢位于直角Y轴正方向上填负值。[来源: 2207工具手标定手册][用户上传文件]
Q: 如何填写夹爪尺寸的z轴方向偏移?
A: 夹爪末梢在Z轴上的偏移量填到"z轴方向偏移",注意:末梢位于直角Z轴正方向上填负值。[来源: 2207工具手标定手册][用户上传文件]
Q: 6点标定的第一个点如何标定?
A: 6点标定的第一个点:机器人5轴垂直向下。[来源: 2207工具手标定手册][用户上传文件]
Q: 6点标定的第二个点如何标定?
A: 6点标定的第二个点:机器人在第一点的基础上C轴旋转180°。[来源: 2207工具手标定手册][用户上传文件]
Q: 6点标定的第三个点如何标定?
A: 6点标定的第三个点:机器人在第一点的基础上B轴角度在35°。[来源: 2207工具手标定手册][用户上传文件]
Q: 6点标定的第四个点如何标定?
A: 6点标定的第四个点:机器人回到零点,然后工具手末梢垂直。[来源: 2207工具手标定手册][用户上传文件]
Q: 6点标定的第五个点如何标定?
A: 6点标定的第五个点:机器人在第四点的基础上动X-。[来源: 2207工具手标定手册][用户上传文件]
Q: 6点标定的第六个点如何标定?
A: 6点标定的第六个点:机器人在第五点的基础上动Y+。[来源: 2207工具手标定手册][用户上传文件]
Q: 7点标定的TC1如何标定?
A: 7点标定的TC1:将工具末端垂直且正对参考点,点击界面"TC1"所对应的【标定】按钮。[来源: 2207工具手标定手册][用户上传文件]
Q: 7点标定的TC5如何标定?
A: 7点标定的TC5:将工具末端垂直且正对参考点(同TC1),点击该行所对应的【标定】按钮。[来源: 2207工具手标定手册][用户上传文件]
Q: 7点标定的TC6如何标定?
A: 7点标定的TC6:在TC5的基础上,沿笛卡尔坐标系X轴负方向移动任意距离,点击该行所对应的【标定】按钮。[来源: 2207工具手标定手册][用户上传文件]
Q: 7点标定的TC7如何标定?
A: 7点标定的TC7:在TC6的基础上,沿笛卡尔坐标系Y轴正方向移动任意距离,点击该行所对应的【标定】按钮。[来源: 2207工具手标定手册][用户上传文件]
Q: 12点标定和15点标定的区别是什么?
A: 12点标定即15点标定不标最后三个点(13-15),标定结果只有工具手的XYZ轴方向偏移,无绕ABC旋转的数值。[来源: 2207工具手标定手册][用户上传文件]
Q: 20点标定的厂家建议步骤是什么?
A: 厂家建议标定步骤,第一点工具手姿态垂直向下,第二点走A+轴,第三点走A+,第四点走A+,第五点走A-,第六点走A-,第七点走A-,第八点走B+,第九点走B+,第十点走B+,第十一点走B-,第十二点走B-,第十三个点走B-,其余点主要动C轴成米字形排布标定。[来源: 2207工具手标定手册][用户上传文件]
Q: 标定过程中如何选择各点的姿势?
A: 各点的姿势,请尽量取任意方向的姿势。取的姿势朝一定方向旋转的话,有些时候精度不准确。[来源: 2207工具手标定手册][用户上传文件]
Q: 标定过程中参考点需要注意什么?
A: 标定过程中请保持参考点固定,否则标定误差增大。[来源: 2207工具手标定手册][用户上传文件]
Q: 标定码垛夹爪推荐使用什么方法?
A: 标定码垛夹爪,推荐:优先选择直接填工具尺寸,不知道尺寸的再使用6点标定。准备一尖状物体且可以被夹爪抓住,该物体尽可能放置到夹抓中心。使用6点标定工具手即可。[来源: 2207工具手标定手册][用户上传文件]
Q: 机器人已做过激光标定+使用焊枪,推荐使用什么标定方法?
A: 机器人已做过激光标定+使用焊枪,推荐:使用6点标定工具手即可,标定完成验证机器人标定结果即可。[来源: 2207工具手标定手册][用户上传文件]
Q: 机器人未做过激光标定+使用焊枪,推荐使用什么标定方法?
A: 机器人未做过激光标定+使用焊枪,推荐:使用12点标定工具手即可,标定完成验证机器人标定结果即可。[来源: 2207工具手标定手册][用户上传文件]
Q: 机器人零点丢失,按照对位孔标定的零点位置有偏差,推荐使用什么标定方法?
A: 机器人零点丢失,按照对位孔标定的零点位置有偏差,推荐:准备标定工具,该工具末梢尽可能位于6轴法兰中心延长线上、工具尺寸较小使用20点标定,校准零点。20标定后再换上要实际用到的工具手进行6点标定。[来源: 2207工具手标定手册][用户上传文件]
Q: 6点标定后A、B轴旋转误差较大满足不了使用需求怎么办?
A: 6点标定后A、B轴旋转误差较大满足不了使用需求,推荐:更换7点标定。[来源: 2207工具手标定手册][用户上传文件]
Q: 什么是TCP?
A: TCP(TOOL CENTER POINT),即工具中心点。机器人轨迹及速度指TCP点的轨迹和速度。TCP一般设置在手爪中心,焊丝端部,点焊静臂前端等等。[来源: 2207工具手标定手册][用户上传文件]
Q: 默认的TCP在哪里?
A: 工业机器人一般都事先定义了一个TCP,TCP的XY平面绑定在机器人第六轴的法兰盘平面上,TCP的原点与法兰盘中心重合。显然TCP在法兰盘中心。[来源: 2207工具手标定手册][用户上传文件]
Q: ABB机器人和REIS机器人如何称呼默认TCP?
A: ABB机器人把TCP称为tool0,REIS机器人称之为_tnull。[来源: 2207工具手标定手册][用户上传文件]
Q: 新的工具坐标系和法兰盘的关系是什么?
A: 新的工具坐标系是相对于默认工具坐标系变化得到的,新工具坐标系的位置和方向始终同法兰盘保持绝对的位置和姿态关系,但在空间上是一直变化的。[来源: 2207工具手标定手册][用户上传文件]
Q: 12点/15点/20点标定公用什么界面?
A: 12点/15点/20点标定公用一个标定界面,标定前15个点即为使用15点标定法。[来源: 2207工具手标定手册][用户上传文件]
Q: "将结果位置标为零点"按钮有什么作用?
A: "将结果位置标为零点"按钮的作用是将标定补偿后的位置设置为当前机器人的零点位置。[来源: 2207工具手标定手册][用户上传文件]
Q: "清除所有标定点"按钮有什么作用?
A: "清除所有标定点"按钮的作用是标定点位会保存到控制器中,只有点击取消标定、清除所有标定点以及切换工具手进标定界面后,标定结果才会清除。[来源: 2207工具手标定手册][用户上传文件]
Q: "20点不标定"按钮有什么作用?
A: "20点不标定"按钮的作用是20个点不标定零点打开后只标定尺寸+姿态;运行到计算结果位置始终置灰,将结果位置标为零点变为"将计算结果保存"。[来源: 2207工具手标定手册][用户上传文件]
Q: 法兰盘坐标系的X轴方向如何定义?
A: 法兰盘中心指向法兰盘定位孔方向为+X方向。[来源: 2207工具手标定手册][用户上传文件]
Q: 法兰盘坐标系的Z轴方向如何定义?
A: 垂直法兰向外为+Z方向。[来源: 2207工具手标定手册][用户上传文件]
Q: 法兰盘坐标系的Y轴方向如何定义?
A: 根据右手法则即可判定Y方向。[来源: 2207工具手标定手册][用户上传文件]
Q: 15点标定的第十三个点如何标定?
A: 15点标定的第十三个点:机器人回到零点位置,调整机器人姿态,使机器人末端工具尖端竖直朝下,将标定尖端与标定锥对齐,标定第十三个点。[来源: 2207工具手标定手册][用户上传文件]
Q: 15点标定的第十四个点如何标定?
A: 15点标定的第十四个点:在第十三个点的基础上,通过直角坐标系做X-,机器人位移一段距离,直接点击标定第十四个点。[来源: 2207工具手标定手册][用户上传文件]
Q: 15点标定的第十五个点如何标定?
A: 15点标定的第十五个点:在第十四个点的基础上,通过直角坐标系做Y+,机器人位移一段距离,直接点击标定第十五个点。[来源: 2207工具手标定手册][用户上传文件]